Nota applicativa

Come selezionare lo strumento per umidità adatto per applicazioni con umidità elevata

Warmed probe infographic

Negli ambienti con umidità elevata le operazioni di misurazione dell'umidità stessa sono molto complesse. La saturazione nell'ambiente causa la formazione di condensa su tutte le superfici (includendo i sensori di misurazione), che può essere fatale per alcune tecnologie.

Produzione e processi industriali Meteorologia

Sebbene la tecnologia Vaisala HUMICAP® sia in grado di resistere alla condensa, essa richiede tempo per annullare gli effetti dell'umidità prima che possa fornire nuovamente misurazioni affidabili. Le applicazioni tipiche in cui può formarsi molta umidità o condensa includono i processi di essiccazione, le camere di prova, gli umidificatori ad aria di combustione, le misurazioni meteorologiche e le pile a combustibile.

La necessità di mantenere accurate e affidabili le misurazioni, anche negli ambienti soggetti a condensa, impone l'uso della tecnologia di prevenzione della condensa di Vaisala. Una sonda riscaldata mantiene il sensore costantemente al di sopra della temperatura ambiente, impedendo la formazione di condensa. 

Lo svantaggio causato dal riscaldamento della sonda è l'impossibilità di misurare l'umidità relativa perché il sensore viene riscaldato a una temperatura superiore a quella dell'ambiente. In questo stato è possibile misurare parametri di umidità indipendenti, come il punto di rugiada o il rapporto di mescolamento. È anche possibile misurare l'umidità relativa tramite un sensore di temperatura aggiuntivo con il nostro trasmettitore Indigo520.

Principio operativo

The heating element inside the probe body heats the entire probe. In this illustration, the probe and filter are glowing red to illustrate how the probe warming keeps the microclimate inside the filter at an elevated temperature. The actual temperature is only a few degrees above the ambient temperature, as seen in the example below:

Condizioni ambientali:

Ta = 14 °C 
RHa = 97% RH 
Tda = 13 °C

Sonda riscaldata HMP7:

Ts = 16 °C 
RHs = 83% RH 
Tda = 13 °C (calcolato)

Come illustrato in questo esempio, il riscaldamento non influisce sul punto di rugiada.

Il punto di rugiada è il valore di temperatura da cui inizia la condensazione oppure il punto in cui l'umidità relativa sarebbe del 100%, se l'aria fosse raffreddata.

L'aggettivo "relativa" associato all'umidità esprime la relazione tra la quantità di vapore acqueo presente e la quantità massima fisicamente possibile a quella temperatura.

Nota: La modalità sonda riscaldata HMP7, se utilizzata da sola, emette solo la temperatura del punto di rugiada in modo digitale (Modbus RTU su RS-485) oppure offre uscite analogiche se combinata con qualsiasi trasmettitore Indigo. Se si desidera ottenere l'umidità relativa e la temperatura, è necessario ordinare la sonda di temperatura ambiente separata (TMP1) con il trasmettitore Indigo520 per calcolare l'umidità a partire dalle letture del punto di rugiada e della temperatura.

Warmed probe infographic

 

 

Conversione da HMT337WP (sonda riscaldata) a una soluzione Indigo

Per le attuali applicazioni con un livello elevato di umidità che utilizzano HMT337WP, consigliamo di usare il nostro trasmettitore Indigo520 con le sonde TMP1 e HMP7 con la modalità di prevenzione della condensa attivata. La nuova piattaforma Indigo si basa sulla stessa tecnologia di misurazione delle piattaforme precedenti. La caratteristica più significativa e ampiamente desiderata della piattaforma Indigo è l'intercambiabilità delle sonde intelligenti. Molte funzionalità che erano tradizionalmente collocate nel trasmettitore sono ora integrate nella sonda intelligente, consentendo lo scambio di campo e configurazioni interfunzionali. Le immagini seguenti illustrano i componenti di base degli strumenti di misura precedenti e di quelli nuovi. Le dimensioni della testa della sonda, i filtri e gli accessori di installazione sono identici e di conseguenza la sonda di umidità HMP7 è compatibile con lo stesso attacco al processo della sonda HMT337.

Componenti del trasmettitore HMT337

HMT337 components
  1. Sonda di umidità riscaldata (uscita punto di rugiada)
  2. Sonda di temperatura 
  3. Cavi fissi dalla sonda al trasmettitore 
    1. Opzioni per lunghezze di 2, 5, 10 e 20 m 
  4. Trasmettitore 
    1. Opzioni per la visualizzazione o la non visualizzazione 
  5. Pressacavo di alimentazione in ingresso 
    1. Opzioni per 24 VCA/CC, 100-240 VCA 
  6. Segnali di usci pressacavo 
    1. 2 o 3 uscite analogiche 
    2. RS-232 o RS-485 o LAN 
    3. 2 relè 
    4. Porta di servizio compatibile HM70

Indigo520 Transmitter Components

Indigo820 components
  1. Sonda di umidità riscaldata HMP7 (uscita punto di rugiada) 
  2. Sonda di temperatura TMP1 
  3. Cavi fissi dalla sonda al trasmettitore 
    1. Opzioni per lunghezze di 1, 3, 5 e 10 m 
  4. Trasmettitore 
    1. Opzioni per la visualizzazione o la non visualizzazione 
  5. Pressacavo di alimentazione in ingresso 
    1. Opzioni per 24 VCA/CC, 100-240 VCA, PoE+ 
  6. Segnali di uscita pressacavo 
    1. 4 Uscite analogiche 
    2. Ethernet Modbus TCP/IP 
    3. 2 Relè 
    4. Integrato in Web server 
    5. Porta di servizio** -
    6. ngresso analogico** 
    7. **Da aggiungere

Storia della tecnologia a sonda calda

La tecnologia a sonda riscaldata è stata sviluppata per la prima volta da Vaisala oltre 25 anni fa per misurare l'umidità esterna in condizioni difficili in ambito meteorologico e modificata successivamente per applicazioni industriali. Nelle applicazioni industriali con elevata umidità, la temperatura può cambiare più velocemente determinando condizioni di condensazione. La tecnologia a sonda riscaldata elimina i tempi di inattività dovuti alla condensa e fornisce misurazioni continue in condizioni di condensazione o saturazione.

Il trasmettitore Indigo520 è un trasmettitore industriale in grado di collegarsi a una o due sonde Vaisala compatibili con Indigo, per la misurazione di umidità, temperatura, punto di rugiada, biossido di carbonio, perossido di idrogeno e tracce di acqua in olio. Il trasmettitore è in grado di misurare la pressione barometrica con un modulo aggiuntivo. TMP1 è progettata per misurazioni della temperatura complesse in applicazioni industriali dove precisione e robustezza sono fondamentali. HMP7 è progettata per applicazioni che prevedono livelli elevati costanti o variazioni rapide dell'umidità, in cui le prestazioni di misurazione e la tolleranza agli agenti chimici sono essenziali. In combinazione, questo sistema può fornire letture costantemente accurate ed estremamente affidabili. Fare riferimento alla tabella sottostante che ne evidenzia le caratteristiche.

ProdottoHMP7TMP1Indigo201 + HMP7Indigo520 + TMP1 & HMP7HMT317HMM170
Riscaldamento della sondaUtilizzato per la compensazione della temperaturaConfigurabileConfigurabileConfigurabileConfigurabile
Grado di protezione IPIP66IP66IP66IP66IP66N/A
Il sensore di temperatura ambiente consente il calcolo dell'umidità relativa (RH)** Possibile con la misurazione della temperatura esternaNoNot) ConfigurabileNo** Possibile con la misurazione della temperatura esterna
Parametri di misurazione disponibiliTd, Tdf, x, ppm, pw **(RH, T, a, Tw, pws, h, dT)Tt) Td, Tdf, x, pwTd, Tdf, x, pw t) (RH, T, a, Tw, pws, h, dT)Td, Tdf, x, pwTd, Tdf, x, ppm, pw **(RH, T, a, Tw, pws, h, dT)
Tensione di alimentazione18 ... 30 VDC10 ... 35 VDCConfigurabile:
10 ... 35
VDC, 24 VAC
Configurabile:
10 ... 35
VDC, 24 VAC,
100 ... 240 VAC,
50/60 Hz
10 ... 35 VDC15 ... 35 VDC
Uscita digitaleRS-485:
Modbus RTU
RS-485:
Modbus RTU
NessunoModbus TCP/IP, interfaccia WebRS-232: ASCII serialeRS-485:
Modbus RTU
Uscita analogicaNessunoNessuno3 uscite analogiche assegnabili4 uscite analogiche assegnabili2 x3 x
DisplayNoNoOpzionaleOpzionaleNoNo
ParametrizzazioneSoftware InsightSoftware Insight273956 o USB-CTouch Screen
o LAN
Programma terminale (ad esempio Putty)Software Insight
Cavo USB (venduto separatamente)242659 o USB2242659 o USB2Nessuno, USB-C219690 o USB2238607219690

** Il calcolo dell'umidità relativa è possibile scrivendo le informazioni della temperatura esterna su un registro Modbus 
t) Configurabile: necessaria sonda temperatura aggiuntiva

Installazione sonda

In base all'applicazione, sono disponibili diversi accessori di montaggio

Montaggio su condotto

Fiigure

1 = Parete del condotto 
2 = Flangia 
3 = Anello di tenuta 
4 = Barra di supporto (non inclusa nel kit per HMT335) 
5 = Parte di fissaggio sonda (da fissare alla barra di supporto)
6 = Sonda di umidità relativa

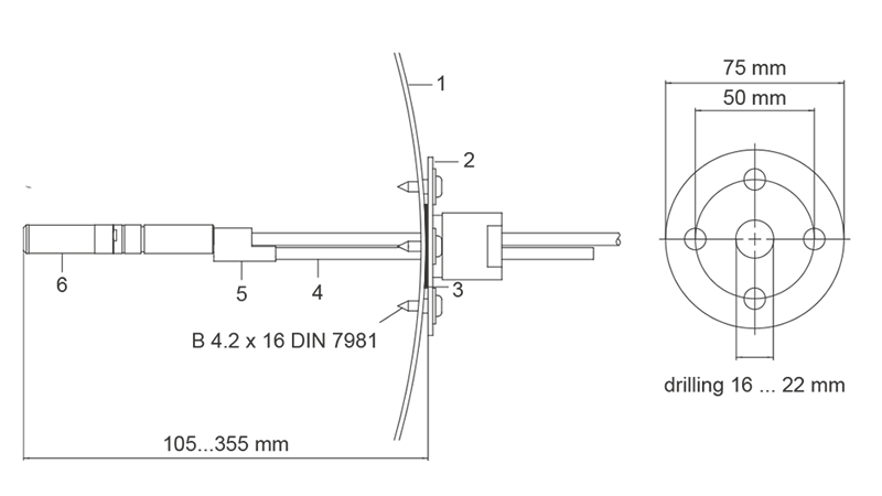
Figure

1 = Parete del condotto 
2 = Flangia 
3 = Anello di tenuta 
4 = Barra di supporto 
5 = Supporto sonda (da fissare alla barra di supporto) 
6 = Boccola di fermo (da fissare alla barra di supporto) 
7 = Sonda di temperatura (da fissare alla boccola di fermo)

Kit di installazione condotti 210697 (215003 per sonda di temperatura HMT337)

Figure

1 = Sonda di umidità relativa 
2 = Connettore condotto 
3 = Filettatura ISO 3/8'' o NPT 1/2'' 
4 = Connettore Swagelok 
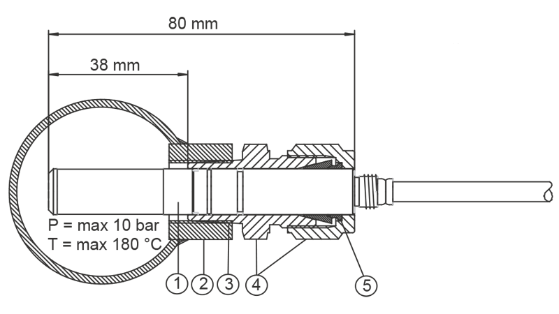
5 = Puntali

Kit di installazione Swagelok di tenuta a pressione SWG12ISO38 con filettatura ISO3/8" o SWG12NPT12 NPT1/2" (SWG6ISO18 con filettatura ISO1/8" o SWG6NPT18 con filettatura NPT1/8" per la sonda di temperatura HMT337).

Figure

1 = Sonda a T 
2 = Connettore condotto 
3 = Connettore Swagelok 
4 = Puntali

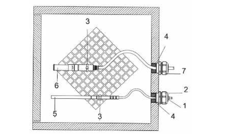
Esempio di installazione della camera climatica

Figure

1 = Manicotto PTFE 
2 = Pressacavo, ad esempio AGRO 1100.12.91.065 
3 = Fascetta fermacavi in acciaio inossidabile o dispositivo di fissaggio simile 
4 = Da sigillare (silicone) 
5 = Sonda di temperatura 
6 = Sonda di umidità relativa 
7 = HMP247CG, pressacavo AGRO (disponibile in Vaisala)

HMP247CG: Installazione a tenuta di vapore con pressacavi.

Figure

1 = AGRO 1160.20.145 (T = -40... +100 C) Non disponibile in Vaisala 
2 = In condizioni di pressurizzazione, utilizzare un anello di bloccaggio, ad esempio 11 x 1 DIN471

Figure

1 = Pressacavo, ad esempio AGRO 1100.12.91.065 
2 = In processi pressurizzati, utilizzare un anello di bloccaggio, ad esempio 6 x 0.7 DIN471

Connessioni di processo a tenuta stagna e con isolamento

La scelta della posizione di installazione di una sonda di umidità può essere difficile in presenza di un'umidità elevata combinata a una variazione della temperatura.

Ad esempio, in un'applicazione di essiccazione in cui l'umidità dell'aria in uscita è prossima alla saturazione (RH 95%) e la temperatura è 40 °C, cosa accade quando la testa del sensore viene installata in modo che il filtro si trovi nel processo e metà del sensore si trovi nella temperatura ambiente di 25 °C? In questa situazione anche il riscaldamento della sonda potrebbe non essere in grado di compensare la perdita di calore causata dalla conduzione termica attraverso il corpo della sonda metallica. La perdita di calore formerà un punto freddo in termini di processo, e la condensa comporterà una misurazione non accurata. In questo caso, la soluzione consiste nell'isolare accuratamente la sonda.

Se il gas di processo è più freddo dell'aria in ambiente, è fondamentale creare una connessione di processo stagna per la sonda. Una connessione non stagna consentirà il passaggio di aria calda e umida nel sistema, con conseguente creazione di condensa vicino al sensore ed evidenti problemi di misurazione.

Condizioni estreme, ad esempio applicazioni con pile a combustibile PEM

Esistono anche applicazioni estreme per le quali il riscaldamento di pochi gradi al di sopra della temperatura ambiente non è sufficiente. Un esempio di questa applicazione è una pila a combustibile PEM (Polymer Electrode Membrane). Le configurazioni specifiche delle applicazioni sono reperibili nei moduli d'ordine delle serie HMP7 e HMT310. Le versioni di queste configurazioni sono progettate per resistere a condizioni estreme riscaldando la testa della sonda a una potenza superiore. È inoltre possibile usare HMP7 e HMM170 in queste applicazioni, poiché le funzionalità di riscaldamento sono tranquillamente configurabili con il software per PC Insight.

Riepilogo

La saturazione del sensore può essere evitata in condizioni di condensa e umidità elevata usando uno strumento dotato della tecnologia di riscaldamento della sonda. Inoltre, il corretto isolamento e l'installazione a tenuta stagna garantiscono il miglior ambiente possibile per una misurazione affidabile dell'umidità.

La tabella di confronto riportata in questo documento consente di scegliere il prodotto giusto per la propria applicazione. Le caratteristiche e informazioni più dettagliate sul prodotto sono disponibili nelle schede tecniche, nei manuali utente e nei moduli d'ordine.

 

E-mail Facebook Twitter LinkedIn